">
荊楚網(湖北日報網) 實習生 李媛婧娜 輿情數據分析師 盧霜
2022年1月24日,由荊楚網(湖北日報網)、楚天輿情數據研究院制作的湖北公安政務微信2021年12月排行榜發布。本期前三名為“武漢交警”“武漢公安”“湖北禁毒hbncc”。

圖1:WCI指數排名前三
指數分析:總體趨勢上升
2021年12月,WCI指數排名前三的是“武漢交警”“武漢公安”“湖北禁毒hbncc”。“平安黃岡”排名較之以往第二位有所下降,本期位居第五,此外除“湖北荊門交警”和“湖北交警”沖入榜單前十以外,榜單整體排名變化不大。
從榜單數據情況來看,整體情況較2021年11月有上升趨勢。榜單前十中,閱讀總數、在看總數均有7家賬號有所提高,其中“平安恩施”雖然發文量削減近半,且最大閱讀量為僅為5萬,沒有一篇10萬+,但閱讀總量反而增加了11萬,全國總排名上升8100名,或許印證了持續穩定的輸出能夠一定程度保證粉絲閱讀率,接下來該賬號可以進一步提高優質內容供給,爭取打磨出10萬+的爆款文章。此外,盡管“平安黃岡”57850的在看總數明顯高于其他賬號,但其閱讀總數、在看總數也是榜單前十中下降最顯著的。
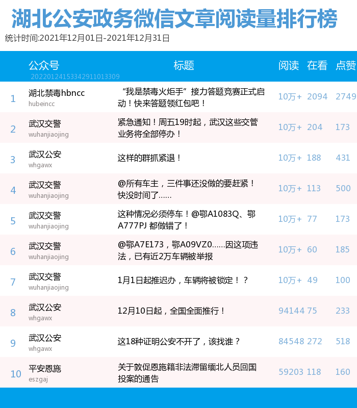
2021年12月湖北公安政務微信共有7篇10萬+文章,其中5篇來自榜首“武漢交警”,其余兩篇分別出自榜單第二名“武漢公安”和第三名“湖北禁毒hbncc”,其中“武漢公安”以僅4篇的最少發文量、最高WCI增量超越“平安黃岡”位居榜單第二,說明10萬+等反響熱烈的文章對賬號排名、傳播指數等指標有顯著影響。

圖2:榜單排名前10名

圖3:閱讀總量前五

圖4:10萬+文章數量
原創文章分析:科普文章引關注
2021年12月文章閱讀量排行榜前十榜單中,“湖北禁毒hbncc”一篇關于“我是禁毒火炬手”答題領紅包活動推介文章位居榜首,該活動以“完成禁毒知識問答就有機會獲得最高626元現金紅包,還有海量6.26元、62.6元紅包天天送”為游戲規則,獲得網友廣泛參與,助推了文章閱讀量的上漲,也起到了禁毒知識科普的作用。
“武漢交警”表現依舊亮眼,從文章內容來看,同樣為知識科普類題材較受關注。例如《@鄂A7E173,鄂A09VZ0……因這項違法,已有近2萬車輛被舉報》《 1月1日起推遲辦,車輛將被鎖定!?》都與交通部門相關法規有關,“因這項違法”“車輛將被鎖定”給民眾要點開閱讀避免觸碰交通法規紅線等迫切感。

排行榜規則說明:
1、聚集湖北省內主要黨政機關政務微信公眾號,根據WCI指數數據進行科學排行,主要從“整體傳播力”、“篇均傳播力”、“頭條傳播力”、“峰值傳播力”四個維度進行評價。
2、樣本范圍和數量每周會根據實際情況進行微調。歡迎湖北省政務新媒體的運營部門或負責人自薦,加入排行榜,聯系電話:027-88567710。
3、在繼續發布湖北政務微信排行榜的同時,楚天輿情數據研究院還會挑選省內優秀的政務微信運營團隊進行訪談。
4、“湖北政務新媒體”交流微信群推出“政務微信運營小課堂”,分享政務微信的運營經驗與干貨知識。
Copyright ? 2001-2025 湖北荊楚網絡科技股份有限公司 All Rights Reserved
互聯網新聞信息許可證 4212025003 -
增值電信業務經營許可證 鄂B2-20231273 -
廣播電視節目制作經營許可證(鄂)字第00011號
信息網絡傳播視聽節目許可證 1706144 -
互聯網出版許可證 (鄂)字3號 -
營業執照
鄂ICP備 13000573號-1
鄂公網安備 42010602000206號
版權為 荊楚網 www.cnhubei.com 所有 未經同意不得復制或鏡像